More Hybrid Bikes Are Coming
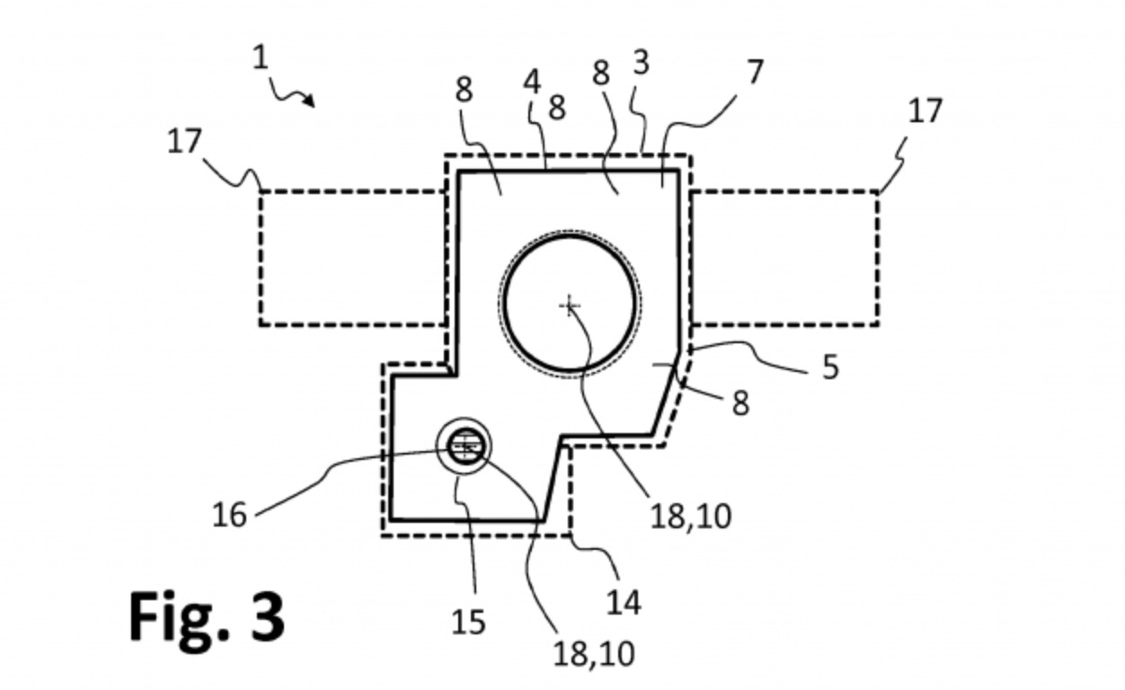
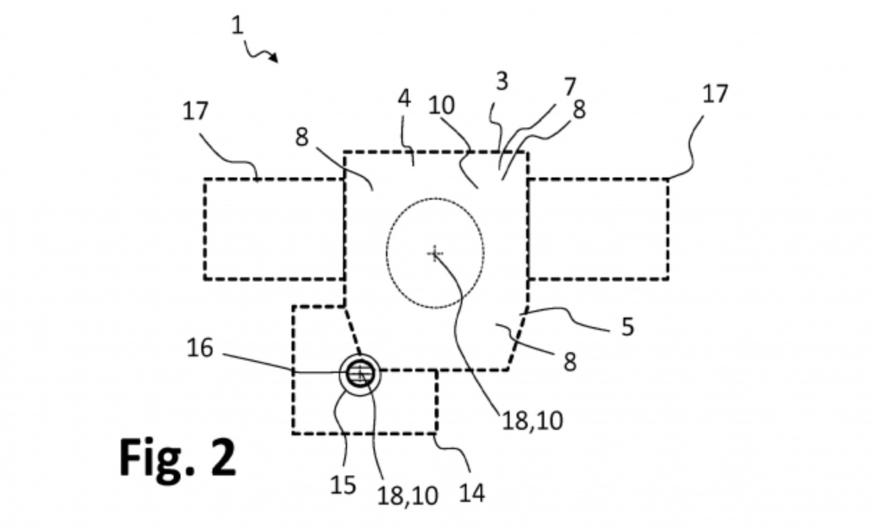
If you thought motorcycles were safe from hybrid technology, you were wrong. A new patent filing by BMW spotted by the two-wheeled sleuths at Motorcycle.com revealed the company might be working on a hybrid boxer engine for a motorcycle. Judging by the patent drawings it’s a bit of a stretch. The drawings are pretty basic and it’s unclear what exactly is going on, but Motorcycle.com gives some insights.
Apparently, the patent places the electric motor with the boxer engine. Together, both the gasoline power and electric power turn the rear wheel of the bike. According to Motorcycle.com, the key to this patent is the adaptor that allows the electric motor to work with the gasoline one.
The adapter has a planetary gear system and connects the two power sources. From there, power from the engine and electric motor go through a regular clutch and transmission. The electric motor works as the starter motor. It can also work as a generator to provide electric power to the various motorcycle systems.
A Hybrid Could be Awesome
One of the interesting things about the adapter that Motorcycle.com points out is that it allows BMW to have a kind of modular powertrain. This means you could swap in a different electric motor if you wanted. This would mean BMW could pop in a new electric motor and dramatically increase the motorcycle’s power output.
The patent currently says the electric motor could provide anywhere from 20 percent of the engine’s maximum torque to 200 percent depending on the motor. The possibilities here are awesome. BMW could potentially smooth out the powerband by torque filling as supercars do. Basically, the electric motor would add power during times the gasoline engine experiences interruptions, like with gear changes. This would make for buttery smooth operation, which would be beneficial on the road and off.
I honestly can’t make heads nor tails of the patent drawings, and they’re pretty bare bones. BMW has experimented with hybrid technology before, so it’s not a huge surprise they’re playing around with this kind of tech, especially with every bike manufacturer working on electrified motorcycles in some capacity.






