Neurolinked Wheelies, Anyone?
Honda has filed a patent with the US Patent Office regarding the possible development and production of a brain-machine-interface that allows your brain to completely control the motorcycle.
The patent images are pretty comical actually. They depict a motorcycle rider using his mind to pop a wheelie on what looks like a CBR600RR. In the next photo, he’s doing a full front-brake stoppie.

It’s up to Honda and how they want to develop this hardware/software, but It’s safe to assume that this new BMI (brain-machine-interface) will link you up with the sensors and assists already on the motorcycle to hopefully prevent crashes and have the motorcycle perform more like you hope it would, without the failure of user inputs.
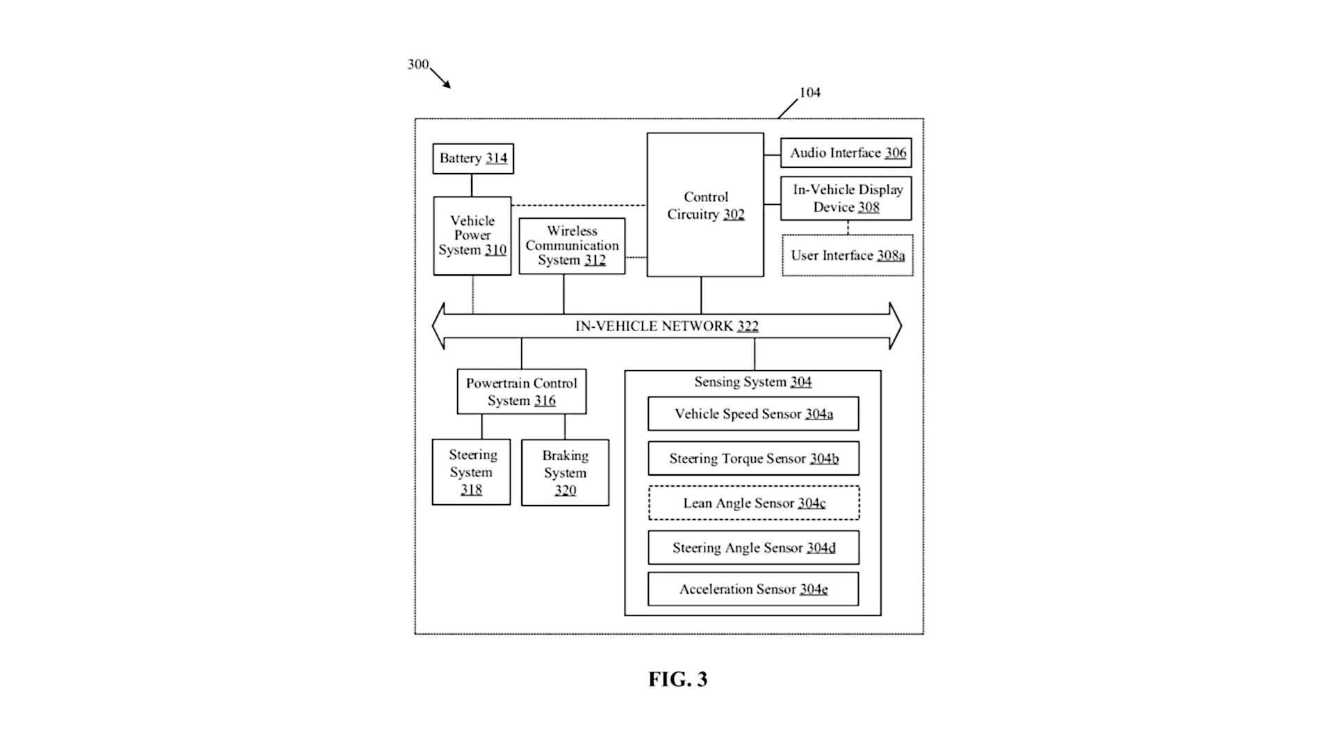
“The control circuitry may determine control information indicative of an intention of the user to perform a specific task using one or more components of the vehicle. The specific task may correspond to one of a vehicle acrobatic maneuver, a vehicle driving maneuver, or a hands-free control of the user assistive device inside the vehicle. Examples of the specific task may include, but are not limited to, a wheelie, a stoppie, a hyper spin, a switchback, a burnout, a left turning maneuver, a right turning maneuver, a braking maneuver, a reversing maneuver, an accelerating maneuver, a decelerating maneuver, a parking maneuver, a traffic circling maneuver, a stopping maneuver, or an overtaking maneuver.”
The future is now, old man!













