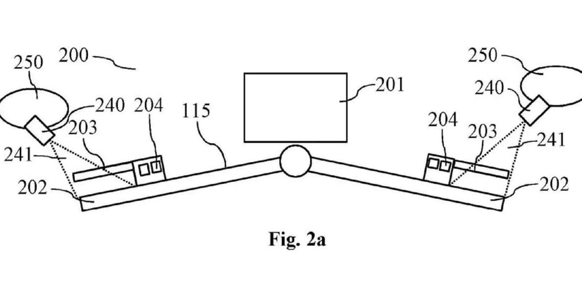
BMW is looking to bring a more innovative approach to making adjustments on the go. They patented gesture controls that will use sensors located on motorcycle handlebars per the drawings.
This new patented technology will get commands from the movements of the rider’s fingers while in the saddle. The drawing shows sensors located either on the handguards or on the bottom of the rear-view mirrors.
The concept was developed to allow riders to keep both hands on the handlebars – insuring the motorcycle is always under control. Modern motorcycles come with an array of features and settings that take attention away from the road when engaging them – the patent from BMW will combat this and allow riders to cycle through settings, rider-aids, and adjustments by simply using a finger gesture.
Reports say that BMW is looking to use certain gestures, like a spin of the index finger, sliding it up/down, side to side (etc.) to adjust the mirrors. Sure it would be challenging to remember the gestures at first but it’s ultimately designed to make life on the bike easier.
Infrared sensors would likely be utilized to identify a gloved hand when riding at night.
As motorcycle technology increases and the number of buttons found on motorcycles also grows, isn’t it time to develop technology to reduce the number of pushbuttons?




